而在这些新硬件正式发布之前,我们可以从老任所申请的专利之中窥探一二,其中不乏解决玩家们多年痛点的好设计!
可拓展的NS卡带
在经历了NGC到WiiU三代家用机的光盘后,Switch又一次回归了卡带游戏的设计。
卡带当然有光盘无可比拟的优势,例如无需安装数据即可获得 极高的读取速度 、 小巧方便携带 、在小孩子或小动物手中 不易损坏 等等。
但它的缺点也不可忽视: 闪存成本昂贵 。
目前Switch主要有6种卡带容量,分别是1G、2G、4G、8G、16G和32G。 在卡带的设计上最高支持64G ,但任天堂至今也没有开通这一产线(因为闪存供应没谈妥)。
对于大多数游戏而言,16G是足够用的,毕竟Switch上的大作主要集中在8-15G。 即使有些游戏略微超过1 6 G,厂商往往也会 想办法压缩一下 ,或者把多出来的数据 作为更新补丁 。
用上3 2 G卡带的游戏少之又少,比较常见的就是港版《最终幻想X》和《巫师3》,还有NS首发的《勇者斗恶龙英雄1+2》等。
未来Switch的性能升级可谓是必然,而与之对应的 更高清的贴图、更精细的模型 ,也会让游戏容量也会跟着一起涨。
届时不仅16G卡带会显得捉襟见肘,即使是32G卡带可能也会有游戏不够用。但对于厂商而言,卡带成本上涨是很痛苦的。
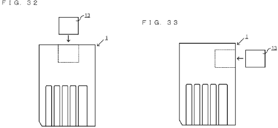
为此,任天堂给出了一个新的解决方案: 可供玩家拓展的卡带 。
这种卡带外形和我们现在的卡一样,但是在背部加入了一个额外的储存卡槽, 就类似于当年大家用的烧录卡一样 。
这张储存卡可以让Switch往里写入或读取数据。例如当一个游戏需要下载5GB的更新补丁,玩家既可以选择下载到主机内存,也可以选择下载到卡带的储存卡中,以便节省机身空间。
这种方案在许多小伙伴看来也许有些愚蠢,但在未来的许多年里,这也不失为一种 妥协式的解决方案,同时利好玩家和厂商 。
可弯折Joy-Con
Joy-Con手柄真是让人又爱又恨。
这个可拆卸的小东西确实方便,但在手感和使用寿命上,却远不如更便宜的Pro手柄。尤其是摇杆漂移、R键脱焊和LED排线断裂,这三个频发的问题让许多玩家头大。
在试图改进Joy-Con质量的同时,老任也没忘了做出一些更大胆的新尝试。例如下面这款 可弯折的Joy-Con 。
该JC的上半部分可以向后弯折,让左摇杆和ABXY按键处于向后倾的状态。这种形态可以让 游戏时的握持和按键手感更佳 ,更符合人体工学。
手柄弯折的连接处采用的是 铰链结构 ,就是如今OLED背部支架的那种形式,因此在稳定度上还是有所保证的。但考虑到大家的Joy-Con插在机器上本就松松垮垮,这种设计恐怕会让底部的连接处更加折寿吧
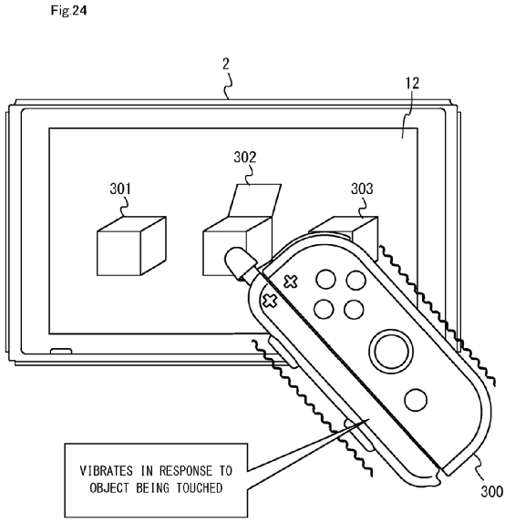
Joy-Con触摸笔
除了奇奇怪怪的Joy-Con造型,老任还为JC手柄设计了一款专用的触摸笔。
这款触摸笔就像是各位手中的腕带,顶部加了个触摸笔尖,把它插到NS即可使用。
而它有意思的地方在于, 根据笔尖和NS触屏的接触,JC手柄会随之发出震动 。利用精细入微的HD震动,可以让玩家获得层次分明的触摸反馈。例如不同的笔、不同的纸质,获得与之对应的触感。
这并非是一项单纯的硬件专利, 它必然是要配合游戏诞生的 。或许经典的“绘画游戏”《绘心教室》能因此在Switch上再获新生呢?
奇怪造型的手柄
除了Joy-Con,老任也设计了一些奇奇怪怪的手柄。比如下面这款,外观看上去就像是 N64三叉戟手柄被砍掉了三叉戟,按键布局又像是经典的SFC手柄 。
然而仔细看的话,会发现它 竟然连Start和Select(对应NS的+和-)都没有 。细品之下,这款手柄似乎啥也玩不了。进入3D化以来的新游戏都需要摇杆,而老游戏的Start键又是必不可少的。这个手柄不管玩新游戏还是老游戏都缺少按键,属实是有些迷惑了。
但倘若它并非用于家用机/掌机,而是用于街机游戏,这个按键数量和布局倒也说得过去。
不论这款手柄用于什么游戏,小编可以肯定的是, 它不会出现摇杆漂移症状了 !
“次世代”摇杆
在隔壁PS和XBOX的次世代战争中,除了游戏机本身的性能提升外,PS5手柄所附带的 自适应板机功能也广受好评 (虽然寿命方面有点问题)。
所谓的板机就是手柄靠后面比较长的那对LR键,而“自适应”则是在手柄的内部,通 过机械结构,配合游戏实时调整阻力 。
例如在游戏中按动一个弹簧时,板机就会变得比较紧,需要较大的力气才能压下去;在游戏中开枪扣动扳机时,板机键按到一半会按不下去,需要用更大的力气才能按下,而与此同时游戏中的子弹也会随之射出……这就让游戏更具代入感,获得更真实的物理反馈。
而任天堂这边也没闲着,作为游戏手柄创新的老大,他们在Pro手柄的摇杆上下了不少功夫。
这项专利在刚刚曝光时,有不少媒体和玩家猜测,下面的这个凹槽是为了防止摇杆帽的粉末进入手柄内部,有效避免漂移的症状。
但实际上在专利的说明中,可以看出这项技术旨在 为摇杆提供更好的手感 ,并利用 多种不同的材质 ,以及 压力等传感器 ,让摇杆在游戏中可以获得更多操作。
打个比方,游戏中需要推一块石头,一般的操作是摇杆推到底,同时配合某个按键推动;但有了这项技术后,推石头的操作可能就变成了 摇杆推到底 、然后 继续用力推摇杆 。想象一下,这样的操作是不是更符合我们现实中的逻辑?
目前的Pro手柄都还没采用这种设计,但考虑到这项技术的实用性,和对游戏体验带来的显著提升,或许下一代NS就会实装这种新摇杆了。
如今NS已经步入第六年,更新换代或是半代升级已经离我们越来越近了。
而这些老任提前几年申请的专利中,有不少恐怕都会在未来实装,为游戏带来更多便利、更多稀奇古怪的玩法。
投稿邮箱
771890055@qq.com
未经允许不得转载:新聚网 » 你没见过的NS“黑科技”,秘密开发中的新硬件!

新聚网





